机密 ★ 考试结束前
浙江省 2020 年 8 月高等教育自学考试
房屋建筑学试题
课程代码:02394
本试卷分 A、B 卷,使用 2006 年第 4 版教材的考生请做 A 卷,并将答题纸上卷别“A冶涂黑;使用 2016 年第 5 版教材的考生请做 B 卷,并将答题纸上卷别“B冶涂黑。 不涂或全涂,均以B 卷记分。 请考生按规定用笔将所有试题的答案涂、写在答题纸上。
A 卷
选择题部分
注意事项:
1. 答题前,考生务必将自己的考试课程名称、姓名、准考证号用黑色字迹的签字笔或钢笔填写在答题纸规定的位置上。
2. 每小题选出答案后,用 2B 铅笔把答题纸上对应题目的答案标号涂黑。 如需改动,用橡皮擦干净后,再选涂其他答案标号。 不能答在试题卷上。
一、单项选择题(本大题共 10 小题,每小题 1 分,共 10 分)
在每小题列出的四个备选项中只有一个是符合题目要求的,请将其选出并将“答题纸冶的相应代码涂黑。 错涂、多涂或未涂均无分。
1. 施工图文件完成后,设计单位应当将其经由_____ 报送有关施工图审查机构,进行强制性标准、规范执行情况等内容的审查。
A. 施工单位 B. 建设单位 C. 监理单位 D. 勘测单位
2. 任何建筑基地都会存在自然的高差。 建筑设计规范要求,建筑物的底层地面应该至少高于其基底外的室外地面约_____ mm。
A. 100 B. 150 C. 300 D. 450
3. 行业中把装修材料的燃烧性能等级定义为:A 级,表示
A. 不燃性 B. 难燃性 C. 可燃性 D. 易燃性
4. 砖砌基础的刚性角控制在_____ 之间。
A. 20毅 ~ 30毅 B. 15毅 ~ 23毅 C. 26毅 ~ 33毅 D. 56毅 ~ 73毅
5. 在正常温湿度状况下进行生产的车间
A. 冷加工厂房 B. 热加工厂房 C. 恒温恒湿厂房 D. 洁净厂房
02394# 房屋建筑学试题 第 1 页(共 8 页)
6. 下列材料中,不宜用于防滑条的为
A. 金刚砂 B. 缸砖 C. 水磨石 D. 钢板
7. 用高强钢丝做拉索,加上高强的边缘构件以及下部的支承构件,使结构自重极大地减小,而跨度大大增加。 除稳定性相对较差外,是比较理想的大跨屋盖结构形式。 这种空间结构体系称为
A. 膜 B. 薄壳 C. 网架 D. 悬索
8. 一种是_____ ,在屋架下弦悬挂双轨,在双轨下部安装吊车。
A. 梁式悬挂式吊车 B. 单轨悬挂式吊车
C. 支承梁式吊车 D. 桥式吊车
9. 为了使外墙具有足够的保温能力,应选用_____ 的材料砌筑。
A. 角度高 B. 密度大 C. 导热系数小 D. 导热系数大
10. 阳台栏杆的垂直杆件间净距不应大于_____ mm。
A. 110 B. 120 C. 130 D. 150
二、多项选择题(本大题共 6 小题,每小题 2 分,共 12 分)
在每小题列出的五个备选项中至少有两个是符合题目要求的,请将其选出并将“答题纸冶的相应代码涂黑。 错涂、多涂、少涂或未涂均无分。
11. 属于文教建筑的有
A. 办公楼 B. 各类学校 C. 图书馆
D. 电影院 E. 展览馆
12. 建筑物的主要构成部分包括_____ 等。
A. 楼地层 B. 墙或柱 C. 屋盖
D. 地基 E. 楼电梯
13. 建筑物交通联系部分包括
A. 阳台 B. 楼梯 C. 门厅
D. 走道 E. 过厅
14. 影响确定建筑物层数和总高度的因素
A. 城市规划的要求
B. 建筑物的使用性质
C. 选用的建筑结构类型和建筑材料
D. 节能减排的要求
E. 城市消防能力的影响
15. 建筑物墙体分类方法依其在房屋中所处位置分为
A. 内墙 B. 外墙 C. 窗间墙
D. 窗下墙 E. 夯土墙
16. 混合结构建筑墙体的抗震主要构造措施
A. 限高 B. 设置圈梁 C. 构造柱
D. 设置过梁 E. 设独立基础
三、判断题(本大题共 18 小题,每小题 1 分,共 18 分)
判断下列各题,在答题纸相应位置正确的涂“A冶,错误的涂“B冶。
17. 地基:是建筑物的垂直承重构件与支承建筑物的基础直接接触的部分。
18. 平面图———建筑物各层的水平剖切图,是从各层标高以上大约直立的人眼的高度将建筑物
水平剖切后朝上看所得的该层的水平投影图。
19. 楼梯和电梯———建筑物中起垂直交通枢纽作用的重要部分。
20. 平面走向:在很大程度上决定了建筑内部的交通组织。
21. 剖面图———在适当的部位将建筑物从下至上垂直剖切开来,令其内部的结构得以暴露,得到该剖切面的正投影图。
22. 分段式组合:将使用功能联系紧密而且高度一样的空间组合在同一层。
23. 在规划部门下发的基地蓝图上,基地红线往往在转折处的枴点上用坐标标明位置。 注意该坐标系统是以南北方向为 Y 轴,以东西方向为 X 轴的,数值向北、向东递进。
24. 建筑物的台阶、平台不得突出于城市道路红线之外。 其上部的突出物也应在规范规定的高度以上和范围之内,不准许突出于城市道路红线之外。
25. 强度———砂浆为刚性材料,主要考虑抗拉强度。 其强度等级分为:M0. 4、M1. 0、M2. 5、M5. 0、M7. 5、M10、M15 等 7 个等级。
26. 砌体墙的砌筑要领—错缝搭接,避免通缝,横平竖直,砂浆饱满。
27. 幕墙在与主体建筑的楼板、内隔墙交接处的空隙,必须采用岩棉、矿棉、玻璃棉等难燃材料填缝,并采用厚度在 1. 5mm 以上的镀锌耐热钢板(不能用铝板)封口。
28. 由于砂浆在结硬的过程中易因干缩而导致开裂,因此找平层必须分层施工,每层厚度应控制在:水泥砂浆:7 ~ 9mm;混合砂浆:5 ~ 7mm。
29. 人工基础———本身的承载能力弱,或建筑物上部荷载较大,须预先对土壤层进行人工加工或加固处理(压实法、换土法、打桩法以及化学加固法等)后才能承受建筑物荷载。
30. 箱型基础———由钢筋混凝土的底板、顶板和若干纵横墙组成的,形成空心箱体的整体结构,共同来承受上部结构的荷载。
31. 室外台阶与坡道面层材料必须防滑。
32. 防水层混凝土中留分仓缝,部位、间距同卷材防水屋面中的刚性材料层,而且混凝土中所配的钢筋也必须在分仓缝处断开。
33. 恒温恒湿厂房为了防止冬季冷风的影响,厂房纵墙面宜与当地冬季主导风向平行。
34. 生产工艺是工业建筑设计的依据。
非选择题部分
注意事项:
用黑色字迹的签字笔或钢笔将答案写在答题纸上,不能答在试题卷上。
四、填空题(本大题共 14 小题,每空 1 分,共 15 分)
35. 建筑设计的内容对_____ 的研究对构成建筑空间的_____ 的研究。
36. 建筑物内部使用部分的平面面积和空间形状的主要依据:_____ 。
37. 住宅建筑层数在 3 层及以下的被称之为_____ 住宅。
38. 凡高度在_____ m 以上的建筑均被称之为超高层建筑。
39. 光环境最基本的衡量标准是建筑获得日照的状况和有效的_____ 。
40. 坡屋顶坡度由结构构件的形状或者其支承情况形成,即由_____ 找坡。
41. 为杜绝地下潮气对墙身的影响,砌体墙应该在勒脚处设置_____ 。
42. 楼梯的构成要素包括梯段、平台、_____ 、平台梁。
43. 设在梯段与平台交接处的梁是_____ ,它是最常用的楼梯梯段的支座。
44. 室外楼梯,特别是消防楼梯的扶手高度应不小于_____ m。
45. 在屋面板的支座处、板缝间和屋面檐口附近这些变形敏感的部位,预先将用刚性材料所做的构造层次作人为的分割,即预留_____ 。
46. 为了防止冻融时土内所含的水的体积发生变化会对基础造成不良影响,基础底面应埋在冰冻线(结冰的土层厚度处)以下_____ mm。
47. 温度较高的物质的分子在振动激烈时释放出辐射波,热能按电磁波的形态传递叫_____ 。
48. 基础不一定断的变形缝是_____ 。
五、简答题(本大题共 3 小题,共 20 分)
49. 施工图文件审查内容主要涉及哪些方面? (本题 8 分)
50. 简述框架结构建筑的特点。 (本题 4 分)
51. 为避免眩光影响采取的主要措施有哪些? (本题 8 分)
六、作图题(本大题共 2 小题,共 25 分)
52. 试画出刚性防水屋面及在女儿墙处的构造做法。 并在“?冶及“ 冶处填上相关内容。(10 分)

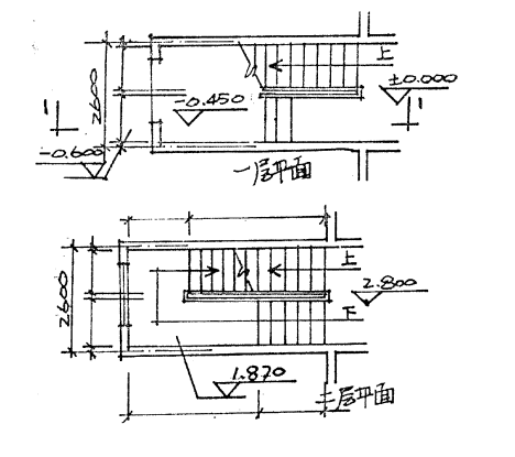
53. 某住宅层高 2. 800,采用现浇板式双跑楼梯,18 级踏步,请绘出 1-1 剖面,绘至标高 3. 300处,并注明休息平台宽度,梯段宽度,井道宽度。 踏步高、宽。 (栏杆不用画)(15 分)

B 卷
选择题部分
注意事项:
1. 答题前,考生务必将自己的考试课程名称、姓名、准考证号用黑色字迹的签字笔或钢笔填写在答题纸规定的位置上。
2. 每小题选出答案后,用 2B 铅笔把答题纸上对应题目的答案标号涂黑。 如需改动,用橡皮擦干净后,再选涂其他答案标号。 不能答在试题卷上。
一、单项选择题(本大题共 10 小题,每小题 1 分,共 10 分)
在每小题列出的四个备选项中只有一个是符合题目要求的,请将其选出并将“答题纸冶的相应代码涂黑。 错涂、多涂或未涂均无分。
1. 以人体尺度和人体活动所需的空间尺度作为判断依据,规范规定楼梯梯段上部的最小净空不得低于下列哪项?
A. 2200mm B. 2000mm C. 2500mm D. 2400mm
2. 空间结构类型比起平面类型的结构形式,下列表述错误的是哪一项?
A. 更能发挥材料性能,减少结构自重
B. 能够增加覆盖面积
C. 形状富于变化,支座形式灵活多样
D. 更有利于形成规则的建筑形态
3. 下列哪项不属于建筑结构受力系统中第一个层次的构件,施加在其上的活荷载及其自重必须通过受力系统中的其他层次传递到地基上去?
A. 楼地层及屋盖 B. 柱子 C. 阳台 D. 遮阳及雨棚
4. 为了提高预制装配楼板的整体性,防止房屋在使用过程中因结构变形而出现板缝开裂或楼板开裂等情况,相关规范规定,当圈梁不在楼板高度时,预制板在外墙上的搁置宽度不应小于多少,在内墙上的搁置宽度不应小于多少,在梁上的搁置宽度不应小于多少?
A. 180mm,100mm,60mm B. 180mm,120mm,80mm
C. 120mm,100mm,80mm D. 150mm,120mm,60mm
5. 基础的构造形式的确定与下列哪一项无关?
A. 建筑物上部的结构形式 B. 荷载的大小
C. 地基土质情况 D. 建筑物的使用性质
6. 楼梯的常用坡度范围在下列哪个范围?
A. 27毅 ~ 35毅 B. 25毅 ~ 45毅 C. 25毅 ~ 33毅 D. 30毅 ~ 45毅
7. 轮椅坡道的净宽度与无障碍出入口的轮椅坡道的净宽度分别不应小于下面哪一项?
A. 1. 00m,1. 20m B. 1. 10m,1. 20m
C. 1. 20m,1. 50m D. 1. 00m,1. 50m
8. 为了防止室内万一积水会溢出,对有水房间的楼面或地面标高应比相邻房间或走廊做低多少 mm?
A. 30 ~ 40mm B. 20 ~ 30mm C. 25 ~ 35mm D. 35 ~ 40mm
9. 门窗的隔声能力与下列哪一项无关?
A. 材料的密度 B. 构造形式 C. 声波的频率 D. 五金件的形式
10. 在无起重机工业建筑中,柱顶标高是按最大生产设备高度及安装检修所需的净空高度来确定的,柱顶标高一般不得低于下列哪项?
A. 3. 9m B. 4. 2m C. 4. 8m D. 4. 5m
二、多项选择题(本大题共 10 小题,每小题 2 分,共 20 分)
在每小题列出的四个备选项中至少有两个是符合题目要求的,请将其选出并将“答题纸冶的相应代码涂黑。 错涂、多涂、少涂或未涂均无分。
11. 我国当前的建筑设计程序一般分为下面哪几个阶段?
A. 概念设计 B. 方案设计 C. 初步设计 D. 施工图设计
12. 决定建筑物某部分净高的因素包括以下哪几方面?
A. 家具、设备的安装和使用高度 B. 人活动所需要的使用高度
C. 满足生理、心理要求的其他标准 D. 节能的要求
13. 单层刚架的特点包括下列哪几项?
A. 刚架在结构上属于平面受力体系 B. 刚架结构在平面外刚度较小
C. 适用于跨度不是太大的单层建筑 D. 适用于檐口高度很高的单层建筑
14. 钢筋混凝土楼层的施工工艺可以分为现浇整体式、预制装配式和装配整体式三种,其中现浇整体式的特点表述正确的包括哪几项?
A. 结构整体刚度好 B. 现场进行、湿作业、工序繁多
C. 板或者梁的宽中弯矩增加 D. 可以减少结构的总高度
15. 砌体墙所用的材料主要分为块材和粘结材料两部分,块材多为刚性材料,下列关于其力学性质表述正确的是哪几项?
A. 抗压强度高 B. 抗弯和抗剪能力较差
C. 墙体抗压强度由块材强度决定 D. 墙体抗压强度由粘结材料强度确定
16. 不上人屋面保护层一般采用下列哪些材料?
A. 块材 B. 细石混凝土 C. 铝箔 D. 矿物粒料
17. 门窗的隔声能力与下列哪些因素有关?
A. 材料密度 B. 声波的频率
C. 构造形式 D. 门窗缝处的密闭性
18. 屋面排水与下列哪些因素有关?
A. 合适的坡度 B. 屋面形式
C. 屋面面积 D. 屋面高低层的设置
19. 工业建筑按照厂房的用途分为下列哪几项?
A. 主要和辅助生产厂房 B. 动力用厂房和储藏类建筑
C. 恒温恒时厂房 D. 运输工具用房
20. 规范规定,下列哪种情况必须用安全玻璃?
A. 面积大于 1. 5m2的窗玻璃
B. 距地面 900mm 以下的窗玻璃
C. 与水平面夹角不大于 75毅的倾斜窗
D. 7 层及以上建筑的外开窗
非选择题部分
注意事项:
用黑色字迹的签字笔或钢笔将答案写在答题纸上,不能答在试题卷上。
三、填空题(本大题共 10 小题,每空 1 分,共 20 分)
21. 在建筑设计的过程中,设计人员必须注重对建筑实体的研究,建筑实体同时具有 价值和 价值。
22. 根据轻质隔墙、隔断构成方式不同,可以大致分为 、 以及可活动类等三种。
23. 粉刷用砂浆中的水泥一般采用硅酸盐和普通硅酸盐水泥,强度等级不低于 ,砂子是砂浆中的主要骨料,砂子宜使用 或者 ,其中含泥量小于等于 3% 。
24. 轻钢龙骨与吊顶面板的连接方式有 、 和 等三种。
25. 不同材料基础的刚性角是不同的,通常砖砌基础刚性角控制在 之间为最好、素混凝土基础的刚性角应控制在 以内。
26. 按照相应的制图规范规定,在建筑立面上,用 表示窗扇朝外开,用虚线表示其朝里开。
27. 按照建筑防火规范要求,必须将建筑内部空间按一定的面积划分为若干 。
28. 工程人员在实践中积累了大量的防水构造经验,总体上分为 和 。
29. 目前我国常用的通风天窗形式有 和 。
30. 工业建筑的结构支承方式可以分为 和 两类。
四、名词解释题(本大题共 5 小题,每小题 3 分,共 15 分)
31. 檩式系统
32. 过梁
33. 幕墙
34. 井格式基础
35. 绿色工业建筑
五、简答题(本大题共 4 小题,每小题 5 分,共 20 分)
36. 施工图设计阶段,在施工图完成之后应进行施工图审查,审查内容包括哪几个方面?
37. 简述建筑物与周边物质环境的关系。
38. 简述变形缝处建筑的结构布置。
39. 生产工艺是工业建筑设计的依据,一个完整的工艺平面图包括哪些内容?
六、论述题(本大题 15 分)
40. 论述建筑屋面的保温构造。
(2)本站自学考试信息供自考生参考,权威信息以各省(市)考试院官方为准。






暂无评论内容